10月29日,Web3大会在上海外滩茂岳举行!会议持续了两天,30日结束。除了来自全球学术界、互联网、开源社区、风险投资、数字艺术和媒体界的数十位嘉宾外,大会还聚集了数百位开发者、研究人员和企业家,齐聚上海外滩茂悦,分享新的创意,为数字资产行业带来一场”盛宴。
这是一个真正的web3.0事件
这是第一次在中国上海举行的Web3会议。它旨在为去中心化的项目团队之间的协作和沟通搭建一座桥梁。Web3会议是围绕着一个号召来组织的,旨在促进一个功能良好、用户友好的Web3.0网络。这也是Web3.0的愿景——创建新一代互联网,让每个用户都能掌握自己的数据、身份和命运。
Web3会议由Web3基金会主办,其目的是促进软件、协议、创新技术和应用程序的加密和去中心化,并开发第三代互联网Web3.0。其核心是Web3技术的研究、开发、部署、资助和维护。
本次大会嘉宾的邀请遵循“Web3会议”的价值:欢迎所有协议项目、所有开发者、来自不同背景和不同意见的人士参与邀请。本次会议的主题讲座主要中心化在区块链技术和Web3相关的宣传计划上。
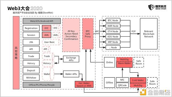
余弦:区块链安全,无休止的战争
作为区块链安全技术领域的**专家,中国计算机学会计算机安全委员会委员、知名黑客、网络空间搜索引擎“zoomeye”创始人、joinsec创始人、创优科技副总裁、404团队负责人、慢雾科技创始人于显受邀出席10月30日2007年5月1日举行“区块链安全,一场无休止的战争”主题演讲。他们与现场业界**一起,就“区块链安全”这一话题进行了深入探讨。
科辛指出,安全不仅指智能合约安全,还包括区块链基础安全、前端安全、通信安全、新功能安全、人身安全、金融安全和合规安全。他还说,在区块链的世界里,做坏事的代价是惊人的。目前,已披露的被盗数字资产价值已超过135.67亿美元,未披露的数字资产数量可能是已披露数字资产的两倍。
详情请参考慢雾黑客档案:https://hacked.slowmist.io/
值得一提的是,cosine认为代码就是法律是一种不切实际和不负责任的声明。他认为,区块链的安全性远远大于区块链,存在着矿石池、交易所和钱包受到攻击的风险。他**强调,信息边界在哪里,战争就在哪里。
以下是科辛关于“区块链安全,无休止的战争”的演讲内容:



















号



参考来源:
HTTPS://FurUM.Web3.BaseTea/
https://mp.weixin.qq.com/s/wmhpocjxav1dpme329nww
文章标题:慢雾:无休止的区块链安全战争
文章链接:https://www.btchangqing.cn/133957.html
更新时间:2020年10月31日
本站大部分内容均收集于网络,若内容若侵犯到您的权益,请联系我们,我们将第一时间处理。